Магазин запчастей для бытовой техники - Arlos
Москва
close
Выберите ваш регион
АбаканАлександровАльметьевскАнгарскАрзамасАрмавирАртемАрхангельскАстраханьАчинскБалаковоБалашихаБеларусьБелгородБердскБерезникиБийскБлаговещенскБратскБрянскВеликий НовгородВидноеВладивостокВладикавказВладимирВолгоградВолгодонскВолжскийВологдаВолховВоркутаВоронежВоскресенскВыборгГатчинаГеленджикГрозныйДедовскДербентДзержинскДзержинскийДимитровградДмитровДолгопрудныйДомодедовоДонецкЕвпаторияЕгорьевскЕкатеринбургЕлецЕссентукиЖелезногорскЖелезнодорожныйЖуковскийЗеленоградЗлатоустИвановоИвантеевкаИжевскИркутскИстраЙошкар-ОлаКазаньКалининградКалугаКаменск-УральскийКамышинКаспийскКемеровоКерчьКировКисловодскКлинКовровКоломнаКомсомольск-на-АмуреКопейскКоролёвКостромаКотельникиКрасногорскКраснодарКраснознаменскКрасноярскКурганКурскКызылЛенинск-КузнецкийЛипецкЛобняЛыткариноЛюберцыМагнитогорскМайкопМалаховкаМахачкалаМиассМоскваМурманскМуромМытищиНабережные ЧелныНазраньНальчикНаро-ФоминскНахабиноНаходкаНевинномысскНефтекамскНефтеюганскНижневартовскНижнекамскНижний НовгородНижний ТагилНовокузнецкНовокуйбышевскНовомосковскНовороссийскНовосибирскНовоуральскНовочебоксарскНовочеркасскНовошахтинскНовый УренгойНогинскНорильскНоябрьскОбнинскОдинцовоОктябрьскийОмскОрелОренбургОрехово-ЗуевоОрскПавловский ПосадПензаПервоуральскПермьПетрозаводскПетропавловск-КамчатскийПодольскПрокопьевскПсковПушкиноПятигорскРаменскоеРеутовРостов-на-ДонуРубцовскРыбинскРязаньСакиСалаватСамараСанкт-ПетербургСаранскСаратовСевастопольСеверодвинскСеверскСергиев ПосадСерпуховСимферопольСмоленскСосновый БорСочиСтавропольСтарый ОсколСтерлитамакСтупиноСургутСызраньСыктывкарТаганрогТамбовТверьТихвинТольяттиТомилиноТомскТроицкТулаТюменьУлан-УдэУльяновскУссурийскУсть-ИлимскУфаУхтаФеодосияФрязиноХабаровскХанты-МансийскХасавюртХимкиЧебоксарыЧелябинскЧереповецЧеркесскЧеховЧитаШахтыЩелковоЭлектростальЭлистаЭнгельсЮжно-СахалинскЯкутскЯлтаЯрославль
  • - бесплатно по РФ
    Автоперезвон. Работает по принципу: Вы позвонили на номер, мы сбрасываем звонок и перезваниваем через 3 секунды.
  • - по Москве
  • 8 (925) 663-83-63

Call-центр

пн-вс: 10:00-19:00

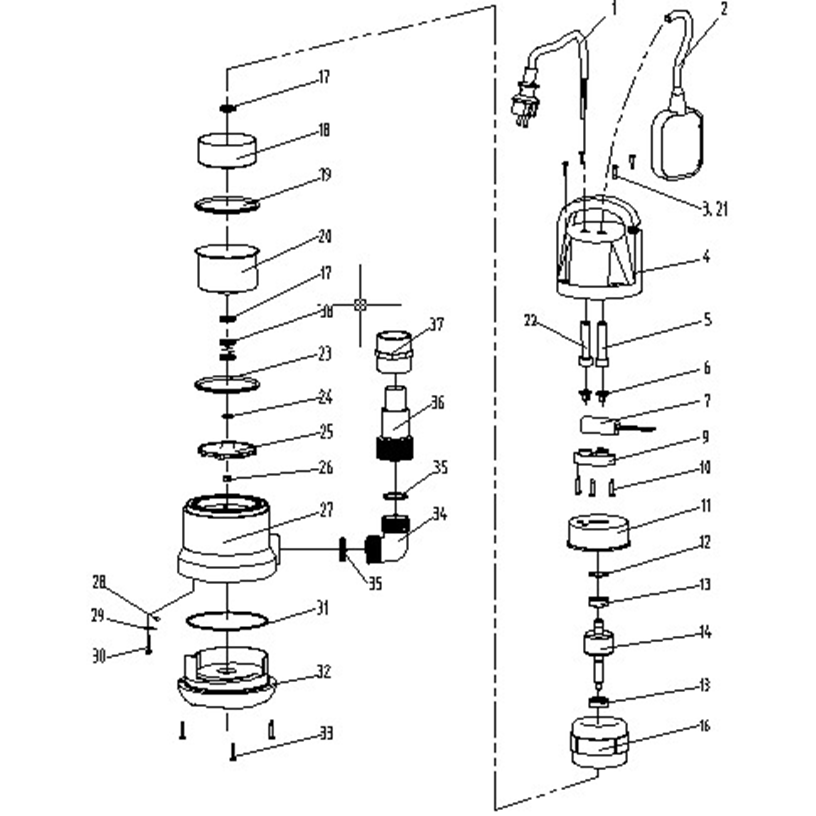
Насос дренажный ЗНПЧ-550

Данная модель имеет несколько схем

NАртикулНазваниеСрок отгрузкиЦенаКупить
1 U099-004-013 Шнур сетевой резин. 3х1,0мм 10м #F 480 р.
2 U452-400-002 Поплавок в сборе 657 р.
3 UM02-900-014 Саморез 4.5х30 PH2
4 U452-400-006 Корпус электродвигателя 674 р.
5 22 U452-400-007 Воротник шнура #F 189 р.
6 U452-400-008 Шайба прижима пласт. 94 р.
7 U452-550-012 Конденсатор 8мкФ 450В CBB60 286 р.
9 U452-400-011 Планка прижима 189 р.
10 UM02-000-039 Саморез 4x34 PH2 #F 92 р.
16С U452-550-015 Электродвигатель в сборе 3.681 р.
21 UM04-900-001 Шайба D5 92 р.
23 U452-400-014 Уплотнение электродвигателя D92x5 286 р.
24 U532-400-024 Шайба (нерж.)
25 U452-550-019 Крыльчатка (4 лоп.) 480 р.
26 UM05-901-002 Гайка М8 автогровер (нерж.)
27 U452-552-017 Корпус насоса 674 р.
28 U352-102-016 Шарик стальной D6 84 р.
29 U452-400-023 Лепесток
30 UM02-900-001 Саморез 3x10 РН1 92 р.
31 U452-400-025 Кольцо уплотнительное D126х3 189 р.
32 U452-750-027 Основание насоса 189 р.
33 UM02-900-015 Саморез 4.5х21 PH2
34 U452-400-020 Патрубок D48x72x72 189 р.
35 U452-400-019 Кольцо уплотнительное D42х3 92 р.
36 U452-400-021 Штуцер выходной D54x100 92 р.
Найдено товаров: 25
1
▲ Наверх
0
8 (925) 663-83-63

Call-центр

пн-вс: 10:00-19:00

НАЙТИ ПО МОДЕЛИ
Введите номер заказа
Введите номер своего заказа, что бы узнать его текущий статус.
Что бы получить доступ к расширенным функциям, пройдите не сложную регистрацию. Зарегистрироваться